首页
协会概况
协会简介
组织架构
领导一览
会员名录
入会申请
行业资讯
协会要闻
通知公告
行业资讯
政策法规
经验交流
企业风采
保安风采
党建团建
专访
技术防范
生活指南
荣誉表彰
教育培训
等级评定
招标信息
招标信息
咨询投诉
咨询投诉
保安寄语
联系我们
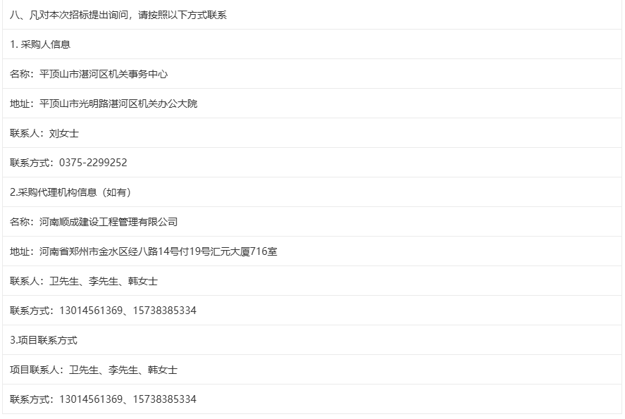
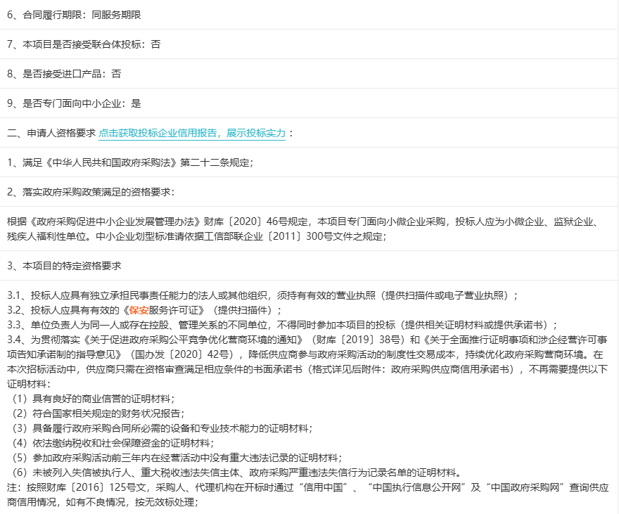
【平公资采2026247号】平顶山市湛河区机关事务中心区机关保安服务采购项目-招标[采购]公告
发布时间:2026-03-31 10:53